The differences between the TN and TR dual-shaft cylinders of AIRTAC
1. Differences in manufacturing standards. The TN series complies with enterprise standards, while the TR series complies with JIS standards (Japanese industrial standards). TR mainly corresponds to the CXS series of Company S.
2. Differences in materials used. Both of their bodies are made of aluminum alloy, but the TN part of the piston rod is made of hard-chrome-plated ground rods, while the TR part is made of medium carbon steel and SUS304.
3. Differences in size and installation methods: The sizes of the two are different, and TR offers multiple installation methods.

Disassembly diagram of the AIRTAC double-shaft cylinder
*Internal structure and materials of main components
| Serial number | Name | Material | Serial number | Name | Material | ||
| 1 | Piston rod B | 32 | S45C hard chrome-plated grinding rod | 12 | Ontology | Aluminum alloy | |
| other | SUS304 hard chrome-plated grinding rods | 13 | Anti-collision pad | TPU | |||
| 2 | Hexagon socket screw | Medium carbon steel | 14 | Magnetic base | 10 | SUS303 | |
| 3 | Anti-collision pad | TPU | other | Aluminum alloy | |||
| 4 | Nut | Medium carbon steel | 15 | Piston command | NBR | ||
| 5 | Piston rod A | S45C hard chrome-plated grinding rod | 16 | Wear-resistant pad | Wear-resistant material | ||
| 6 | Cylinder fixing plate | Fast steel cutting | 17 | Piston | 10 | SUS303 | |
| 7 | Screw | Medium carbon steel | other | Aluminum alloy | |||
| 8 | C-type buckle | Spring steel | 18 | Back cover password | NBR | ||
| 9 | Front cover password | NBR | 19 | Anti-collision pad | TPU | ||
| 10 | Front cover | Aluminum alloy | 20 | Back cover | Aluminum alloy | ||
| 11 | Mouth ring | NBR | 21 | Magnet | Rare earth category | ||
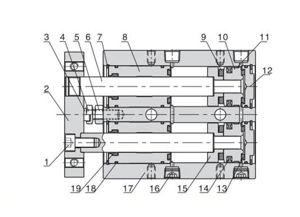
Disassembly diagram of the internal structure of the AIRTAC dual-shaft cylinder TN series
*Internal structure and materials of the main components
| Serial number | Name | Material | Serial number | Name | Material | ||
| 1 | Hexagon socket screw | Medium carbon steel | 10 | Piston | 6/10 | SUS304 | |
| 2 | Cylinder fixing plate | Aluminum alloy | other | Aluminum alloy | |||
| 3 | Anti-collision pad | TPU | 11 | Wear-resistant pad | Nylon 6 | ||
| 4 | Screw | Fast steel cutting | 12 | Back cover | Aluminum alloy | ||
| 5 | Nut | Medium carbon steel | 13 | Anti-collision pad | TPU | ||
| 6 | Piston rod | 25/32 | Medium carbon steel | 14 | Piston command | NBR | |
| other | SUS304 | 15 | Magnetic base | 6/10 | SUS304 | ||
| 7 | C-shaped buckle | Spring steel | other | Aluminum alloy | |||
| 8 | Front cover | Aluminum alloy | 16 | Stop screw | Medium carbon steel | ||
| 9 | Magnet | 32 | Plastic | 17 | Ontology | Aluminum alloy | |
| other | Rare earth category | 18 | Front cover opening order | NBR | |||
| 19 | Piston rod opening command | NBR | |||||
Disassembly diagram of the internal structure of the AIRTAC dual-shaft cylinder TR series
Installation and use of AIRTAC double-shaft cylinders
1. When the load changes during operation, a cylinder with sufficient output force should be selected.
2. Under high-temperature or corrosive conditions, corresponding high-temperature or corrosion-resistant cylinders should be selected.
3. In environments with high humidity, a lot of dust, or where there are water droplets, oil dust, or welding slag, corresponding protective measures should be taken for the cylinder
4. Before connecting the cylinder to the pipeline, all dirt inside the pipeline must be removed to prevent debris from entering the cylinder.
5. The medium used in the cylinder should be filtered through a filter element of 40μm or more before use.
6. As both the front cover of the cylinder and the piston are relatively short, the stroke generally should not be selected too large.
7. In low-temperature environments, anti-freezing measures should be taken to prevent the water in the system from freezing.
8. During operation, the cylinder should avoid being subjected to lateral loads as much as possible to maintain its normal operation and service life.
9. If the cylinder is not used for a long time after disassembly, pay attention to rust prevention on the surface. Dust-proof blocking caps should be added to the intake and exhaust ports. Due to the high manufacturing and guiding precision of the product, please do not disassemble the cylinder fixing block or the cylinder head by yourself.
Above are the differences between tn and tr double-shaft cylinders of AIRTAC, disassembly diagram of AIRTAC double-shaft cylinders content, and to learn more related information are available https://www.joosungauto.com/.


